日期:2025-11-13
北京时间8月14日,第一届青少年田径运动会在沈阳奥体中心继续举行。刚刚结束的女子200米半决赛,陈妤颉在第三小组以非常明显的优势第一个冲过终点线,她以24秒36获得半决赛总成绩第一。女子200米决赛,将于今晚19点05分开赛。
女子200米的世界纪录,是美国名将乔伊娜保持的21秒34,U20世界青年纪录是纳米比亚名将姆波玛创造的21秒81,U18世界少年纪录是英属维尔京群岛的16岁女高中生阿达耶-霍奇在2023年跑出的22秒33。

女子200米的亚洲纪录,是四川广汉飞人李雪梅在1997年八运会上夺冠时跑出的22秒01,U20亚洲青年纪录是巴林的爱迪翁跑出的22秒74,U18亚洲少年纪录是陈妤颉在今年5月龟尾亚锦赛上夺冠时创造的22秒97。女子200米的U18全国青年纪录,是陈玉香在1997年跑出的22秒83。

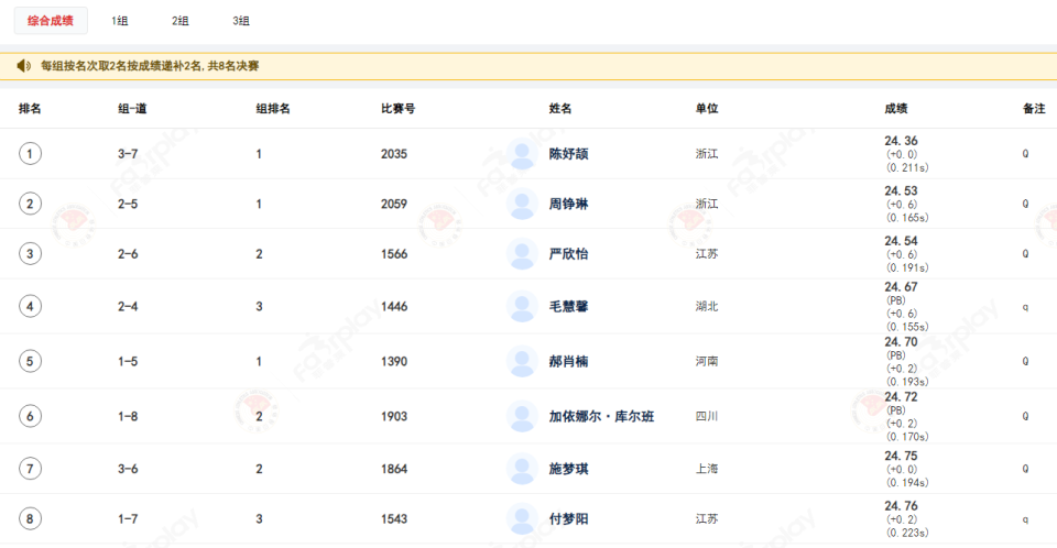
昨晚的女子200米预赛,陈妤颉24秒24高居第一,前8名都跑进25秒。今天上午的200米半决赛分三个小组进行,小组前两名以及另外两个最好成绩晋级今晚的决赛。

半决赛第一小组,河南的郝晓楠以24秒70创个人最佳获得第一,四川的加依娜尔-库尔班以24秒72再破PB获得小组第二。江苏的付梦阳24秒76排名第三。

第二小组,浙江队周铮琳24秒53第一,江苏的严欣怡24秒54第二,湖北的毛慧馨24秒67第三。
陈妤颉在第三组第7道出发,她出发时就体现出优势,随后她很快确立领先。陈妤颉完全控制比赛节奏,最后10多米明显降速冲过终点。这个小组陈妤颉24秒36获得第一,上海的施梦琪24秒75获得第二。